FS型玻璃鋼耐腐蝕化工泵--產品概述
FS型玻璃鋼耐腐蝕化工泵,結構設計先進合理,標準化程度高,零件通用性,互換性強,拆卸檢修十分方便。接觸介質的部件,采用聚乙烯醇縮丁醛改性酚醛玻璃纖維,經高溫模壓成形的酚醛玻璃鋼制件。產品具有輕質、高強、不變形、耐溫、耐腐蝕等優良性能。在防腐方面可部分替代含鉬不銹鋼,鈦及鈦合金等貴重金屬。
FS型玻璃鋼耐腐蝕化工泵--型號意義

FS型玻璃鋼耐腐蝕化工泵--選型依據
普通鋼鐵、不銹鋼、鋁和鉛等裳用工程材料在鹽酸中腐蝕嚴重,都不適用。FS型玻璃鋼耐腐蝕化工泵大多塑料對鹽酸都有優良的耐蝕性。
一類塑料能耐一切濃度和沸點下的鹽酸,如酚醛、呋喃、聚三氟氯乙烯、聚四氟乙烯、聚全氟乙烯、聚偏二氟乙烯等。
酚醛樹脂(玻璃鋼)制品對非氧化性酸(鹽酸、稀硫酸、磷酸等)、鹽類溶液、水都有良好的耐蝕性,不耐堿和氧化性酸(硝酸、鉻酸等)的腐蝕。
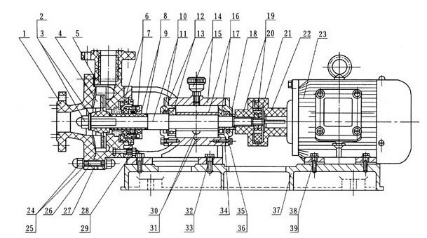
FS型玻璃鋼耐腐蝕化工泵--結構圖

|
序號 |
名稱 |
數量 |
材料 |
序號 |
名稱 |
數量 |
材料 |
序號 |
名稱 |
數量 |
材料 |
|
1 |
泵殼端蓋 |
1 |
玻璃鋼 |
14 |
B-25油杯 |
1 |
組合件 |
27 |
泵體墊片 |
1 |
氟橡膠 |
|
2 |
葉輪并帽 |
1 |
模壓玻璃鋼 |
15 |
機架 |
1 |
HT20-40 |
28 |
六角螺母 |
4 |
A3 |
|
3 |
防腐墊片 |
1 |
聚四氟乙稀 |
16 |
泵軸壓套 |
1 |
20號鋼 |
29 |
墊圈 |
4 |
A3 |
|
4 |
葉輪 |
1 |
玻璃鋼 |
17 |
后滾動軸承 |
1 |
組合件 |
30 |
六角螺母 |
1 |
A3 |
|
5 | 泵體 |
1 |
玻璃鋼 |
18 |
軸承壓圈 |
1 |
HT20-40 |
31 |
油標 |
1 |
有機玻璃 |
|
6 |
壓緊螺套 |
1 |
玻璃鋼 |
19 |
泵聯軸節 |
1 |
玻璃鋼 |
32 |
六家螺栓 |
4 |
A3 |
|
7 |
WB2型機械密封 |
1 |
組合件 |
20 |
彈性塊 |
1 |
橡膠 |
33 |
墊圈 |
4 |
A3 |
|
8 |
軸套 |
1 |
玻璃鋼 |
21 |
圓螺母 |
1 |
45號鋼 |
34 |
后軸承蓋 |
1 |
HT20-40 |
|
9 |
防腐墊片 |
3 |
聚四氟乙稀 |
22 |
電機聯軸節 |
2 |
玻璃鋼 |
35 |
六家螺栓 |
8 |
35號鋼 |
|
10 |
泵軸 |
1 |
45號鋼 |
23 |
電動機 |
1 |
結合部 |
36 |
墊圈 |
8 |
A3 |
|
11 |
前軸承封蓋 |
1 |
HT20-40 |
24 |
防腐螺母 |
16 |
模壓玻璃鋼 |
37 |
底座 |
1 |
HT20-40 |
|
12 |
SG油封蓋 |
2 |
耐油橡膠 |
25 |
防腐墊片 |
16 |
聚四氟乙稀 |
38 |
六家螺栓 |
4 |
A3 |
|
13 |
前滾動軸承 |
1 |
組合件 |
26 |
雙頭螺柱 |
8 |
A3 |
39 |
墊圈 |
4 |
A3 |